CCC Field Device Diagnostics
Software solutions to diagnose and provide valuable insights into the condition and performance of the valves and transmitters
connected to the CCC Pro Built controllers.
Field Device Diagnostics
CCC’s Diagnostic Software enhances machinery health and performance by providing real-time monitoring, failure detection, and preventive diagnostics. Reduce downtime and maintenance costs with our comprehensive, data-driven diagnostic tools. These solutions offer insights into machine conditions, enabling predictive maintenance strategies and improving overall asset management.

Valve Exerciser
CCC’s Valve Exerciser verifies the health of the antisurge valve in less than one minute - without disturbing the process.
Learn More

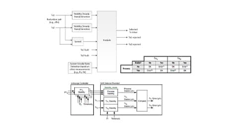
Transmitter Freeze detection
Freeze detector calculates the amplitude of the variations in the signal content. If this variation falls below the normally expected values, the system generates an alarm. The initial values are set during commissioning and can be later tweaked by the engineering personnel.
Learn more

Transmitter Drift Detector
If there’s a deviation between two signals in a dual redundant transmitter pair, the more conservative value is always selected, leading to safer, but often inefficient action from the controller. For example, in the case of dual redundant differential pressure transmitter, if one is showing lower value than the other, the lower reading is usually selected. If that reading falls below the controller setting, it’ll start opening the Antisurge valve.
Lear More